Работаем с юридическими лицами, бюджетными организациями, ИП
По вопросам приобретения товара пишите на info@chiply.ru
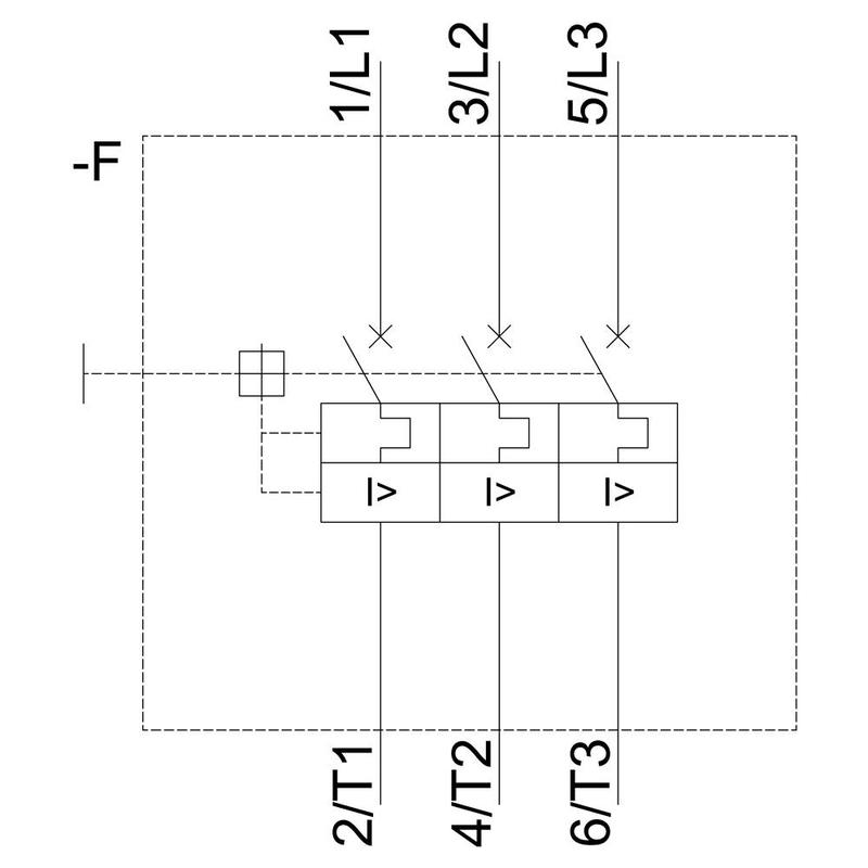
| Type | 3RV2011-1KA10 |
| Type | S00 |
| Amperage adjustment range (min.) | 9 |
| Amperage adjustment range (max.) | 12.5 |
| Adjustment range (amperage) | 9 - 12.5 A |
| No. of pins | 3-pin |
| Switching voltage (max.) | 690 |
| Mounting type | DIN rail |
| Min. temperature | -20 |
| Max. temperature | +60 |
| Connection | Screws |
| IP rating | IP20 |
| Depth | 97 |
| Width | 45 |
| Height | 97 |
| Dim | (W x H x D) 45 x 97 x 97 mm |
| Content | 1 |
| RoHS-compliant | Yes |
| Width | 45 |
| Height | 97 |
| Depth | 97 |
| Rated operation power at AC-3, 400 V | 5.5 |
| Rated permanent current Iu | 12.5 |
| Number of poles | 3 |
| Rated operation power at AC-3, 230 V | 3 |
| Rated short-circuit breaking capacity lcu at 400 V, AC | 100 |
| Product type | Circuit breaker |
Наш менеджер свяжется с вами в ближайшее время